

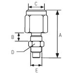
Référez vous au tableau ci-dessous et au schéma présent dans les images pour avoir toutes les caractéristiques détaillées de votre raccord pour manomètres (montage passe cloison)
accessoires
en savoir plus
Diamètre du manomètre | Diamètre C | A | B | D/plat | E |
63 | 1/4" G | 63 | 18 | 19 | 16x200 |
Caractéristiques :